In dieser Anleitung erfahren Sie alles über den Aufbau einer Tür, Türen und Zargen, Türbänder und Scharniere, Türanschlag, Türbeschläge und wie Sie Haustüren und Innentüren einbauen. Diese Anleitung besteht aus vier Teilen. In diesem ersten Teil erfahren Sie alles über den Aufbau einer Türe, wie Sie den Türanschlag richtig bestimmen und die passenden Türbänder auswählen.
1. Der Aufbau einer Tür
Eine Türe bzw. das, was wir im allgemeinen Sprachgebraucht darunter verstehen, besteht aus mehreren Bauteilen. Diese sind:
- Türzarge [1]
- Türblatt [2]
- Türfutter [3]
- Türfalz [4]
- Dichtung [5] (eventuell)
- Blende [6] (eventuell)
- Zierblende [7] (eventuell)
- Türbänder [8]
- Türdrücker [9]
- Türschloss [10]
1.1 Die Türzarge und das Türblatt
Die Türzarge (auch Türfutter genannt) ist der feststehende Teil einer Türe. Sie wird im allgemeinen Sprachgebrauch als Türrahmen bezeichnet. In ihr befindet sich das Türblatt, der bewegliche Teil der Türe. Das Türblatt wird an die Türzarge mit Hilfe von Türbändern oder Scharnieren angeschlagen. Gefertigt werden Türzargen vorwiegend aus Holz, Stahl oder Aluminium.
Eine weitverbreitete Form der Türzarge ist die Umfassungszarge, welche auch als Türfutter bzw. Futterzarge bekannt ist. Diese oft aus Holz gefertigte Zarge umfasst die Wandöffnung sowohl an den zwei Außenseiten als auch an der Wandlaibung, quasi der Innenseite der Wandöffnung für die Türe.
1.2 Der Türfalz
Grundsätzlich gibt es zwei Arten von Türen:
- Gefälzte Türen
- Stumpfe, also ungefälzte Türen
1.2.1 Gefälzte Türen
Bei gefälzten Türen liegt das Türblatt bzw. die Kante des Türblatts auf der Wand bzw. dem Türrahmen auf. Auf diese Weise wird der Spalt zwischen Zarge (Türrahmen) und Türblatt abgedeckt. Das hat den Vorteil, dass Geräusche besser gedämmt werden und Luftzug verringert wird. Dieser Dämmungseffekt kann zusätzlich durch eine Dichtung in der Türfalz verstärkt werden.
1.2.2 Stumpfe Türen
Stumpfe Türen verfügen über eine gerade Kante ohne Stufe, also ohne Falz. Stumpfe Türen kommen im Zusammenspiel mit verdeckt liegenden Türbändern zum Einsatz, da diese es ermöglichen, die Türe mit der Zarge flächenbündig in die Wand einzubauen.
1.3 Türbänder und Scharniere
Türbänder bzw. Scharniere sind das Bindeglied zwischen Zarge und Türblatt. Mit Ihnen montiert man das Türblatt an der Zarge. Sie bilden den Drehpunkt des Türblatts, quasi das Gelenk der Türe. Je nachdem, auf welcher Seite man die Türbänder an der Zarge anschlägt, leitet sich der Türanschlag ab. Dazu in Kürze mehr.
1.3.1 Was ist der Unterschied zwischen Türbändern und Scharnieren?
Im Alltag werden beide Begriffe oft synonym genutzt, tatsächlich unterscheiden sich Türbänder und Scharniere jedoch in manchen Belangen. So müssen Scharniere entweder von der Zarge oder dem Türblatt demontiert werden, bevor man das Türblatt aushängen kann, während man mit Türbändern beschlagene Türen einfach aus den Angeln heben kann.
1.4 Türdrücker und Türschloss
Der Türdrücker bzw. eine Türdrückergarnitur ist ein Türbeschlag, der im Regelfall aus zwei Türschildern bzw. zwei Türrosetten und zwei Türdrückern (auch Türklinke oder Türgriff genannt) besteht.
Die Komponenten sind zweifach ausgeführt, weil sie sowohl an die Innen- wie auch an die Außenseite der Türe montiert werden. Türdrücker gibt es je nach Einsatzbereich in verschiedensten Ausführungen, so bspw. als Wechselgarnitur oder Sicherheitsgarnitur.
Das Türschloss wird in der Türe zwischen den Türdrückergarnituren verbaut. Im Detail befassen wir uns mit Türschlössern im zweiten Teil zwei dieses Guides.
2. So bestimmen Sie den Türanschlag richtig
Der Türanschlag sorgt immer wieder für Missverständnisse. Gehört die Türe nun links oder rechts angeschlagen? Was heißt „Türanschlag rechts“ oder „Türanschlag links“ eigentlich? Ist der Türanschlag nicht eine Frage der Betrachtungsweise? Schließlich scheint eine links angeschlagene Türe plötzlich rechts angeschlagen, wenn man sie von außen betrachtet. Oder etwa doch nicht?
Glücklicherweise lautet die klare Antwort: Nein, der richtige Türanschlag ist keine Frage des Blickwinkels. Er ist klar und eindeutig durch die DIN 107 bzw. ÖNORM B 5328 definiert. Zusätzlich gilt seit einiger Zeit auch die europäische Norm DIN EN 12519.
Der Türanschlag steht in Zusammenhang mit den Türbändern. Versteht man diesen Zusammenhang erst einmal, lässt sich der richtige Türanschlag rasch bestimmen.
In oben genannten Normen werden zwei eindeutige Begriffe definiert:
- Türanschlag DIN rechts
- Türanschlag DIN links
Diese zwei Begriffe werden kurz DIN links und DIN rechts genannt.
Grundsätzlich gilt: Die Seite der Türe, auf welcher die Türbänder (Scharniere) sichtbar sind, wenn die Türe geschlossen ist, bestimmt den Türanschlag. Sind die Türbänder an dieser Seite links angebracht, spricht man von Türanschlag links bzw. DIN links.
Ein weiteres Beispiel: Wenn Sie die Türbänder bei geschlossener Tür rechts sehen, bedeutet dies, dass diese Türe den Türanschlag rechts hat. Wir sprechen von einem Türanschlag DIN rechts. Das gleiche gilt sinngemäß für eine Tür mit Türanschlag DIN links.
Ein weiterer Trick zur schnellen Bestimmung des Türanschlags:
Zeigt der Türgriff nach links, hat die Türe ihren Anschlag links (DIN links), zeigt er nach rechts, hat die Türe ihren Anschlag rechts (DIN rechts).
Auch hier gilt wieder: Die richtige Seite der Türe ist die, auf welcher die Türbänder in geschlossenem Zustand sichtbar sind.
2.1 Achten Sie auf diese Fallen beim Bestimmen des Türanschlags
Haustüren sind oftmals mit Wechsel-Garnituren beschlagen. Das bedeutet: Ein Türdrücker ist nur auf der Innenseite angebracht, während an der Außenseite ein Türknauf (Türknopf) angebracht ist. Ist dies der Fall, kann man den Türanschlag nicht immer korrekt vom Griff ableiten. Doch auch in diesem Fall definiert die DIN Norm klar, wann der Türanschlag als DIN links bzw. DIN rechts definiert ist.
Achten Sie einfach darauf, in welche Richtung die Türe aufschwingt. In fast allen Fällen schwingen Türen nach innen auf. In diesem Fall sind die Türbänder bei geschlossener Türe an der Innenseite sichtbar. Es gilt wieder: Sind die Türbänder links angebracht, ist der Türanschlag links, sind sie rechts angebracht ist er rechts.
In diesem Zusammenhang gibt es jedoch einige wichtige Ausnahmen:
- Türen sehr kleiner Räume
- Notausgangstüren
Speziell bei sehr kleinen Räumen, wie Abstellräumen oder engen Toiletten, schlägt man die Türe oft so an, dass diese nach außen aufgeht. Zum einen, um den ohnehin schon knappen Platz eines Vorratsraums optimal zu nutzen, zum anderen, weil sich die Türe aufgrund von Platzmangel manchmal schlicht und einfach nicht nach innen öffnen lassen würde.
Auch Flucht- bzw. Notausgangstüren schwingen nach außen. Das hat den einfachen Grund, dass ein Flüchtender die Türe instinktiv in Laufrichtung, also nach außen, aufstoßen möchte.
Bei nach außen öffnenden bzw. aufschwingenden Türen liegen die Türbänder somit an der Außenseite der Türe bzw. sind dort sichtbar. Bei solchen Türen spricht man von „DIN rechts auswärts“ bzw. „DIN links auswärts“.
2.2 Türanschlag bestimmen – Die Zusammenfassung
- Die Seite der Türe, auf der die Scharniere bzw. Bänder bei geschlossener Türe sichtbar sind, bestimmt, ob der Türanschlag links oder rechts ist.
- Sind die Scharniere bzw. Türbänder bei einer nach innen aufschwingenden Türe (auch als einwärts öffnend bezeichnet) links sichtbar, spricht man von „DIN links (einwärts öffnend)“. Sind die Scharniere rechts sichtbar, spricht man von „DIN rechts (einwärts öffnend)“.
- Sind die Scharniere bzw. Türbänder bei einer nach außen aufschwingenden Türe (auch als auswärts öffnend bezeichnet) links sichtbar, spricht man von „DIN links auswärts (öffnend)“, sind sie rechts sichtbar, spricht man von „DIN rechts auswärts (öffnend)“.
Der Türanschlag (also DIN links bzw. DIN rechts) bestimmt auch, welcher Türbeschlag/Türdrücker, welches Türschloss und welche Scharniere gebraucht werden. Achten Sie daher beim Kauf dieser Produkte darauf, dass sie für den entsprechenden Türanschlag ausgelegt sind. Die meisten Produkte in unserem Shop sind beidseitig verwendbar. Wir weisen bei entsprechenden Produkten in der Produktbeschreibung darauf hin. So gehen Sie sicher, dass sie den passenden Türbeschlag erwerben.
3. Türbänder – Design, Varianten, Oberflächen
Vom Design her können Türbänder in zwei Grundkategorien aufgeteilt werden:
- Verdeckt liegenden Türbänder (wie die Simonswerk Tectus Türbänder)
- Sichtbar angebrachten Türbänder
3.1 Die Magie der verdeckt liegenden Türbänder
Mit den verdeckt liegenden Türbändern der Tectus-Reihe von Simonswerk eröffnen sich Ihnen völlig neue Raumgestaltungsmöglichkeiten. Zum einen sind sie völlig unsichtbar, wenn die Türe geschlossen ist, zum anderen lassen sich damit Türen flächenbündig in Wände einfügen. Das heißt, sie stehen weder hervor, noch sind sie zurückversetzt. Sie bilden mit der Wand rundherum eine Oberfläche und sind lediglich als kleine Kontur wahrnehmbar.
Die folgende Skizze zeigt ein verdeckt liegendes Tectus-Türband:
Dank Ihrer verdeckten Arbeitsweise lassen sich mit den Tectus Türbändern klare und minimalistische Raumdesigns verwirklichen. Große harmonische Flächen bringen Übersicht und Ruhe in den Raum und schaffen eine entspannte Atmosphäre.
Um diesen Effekt noch zu vergrößern, gibt es die Tectus Türbänder von Simonswerk in verschiedensten Ausführungen und mit verschiedensten Oberflächen (Finish). Auch wenn sie bei geschlossener Türe verdeckt liegen, ziehen Tectus Türbänder die Aufmerksamkeit des Kenners auf sich, wenn sie bei geöffneter Türe dezent sichtbar werden. Die Tectus Türbänder vermitteln sofort hochwertige Eleganz und Gediegenheit und verleihen Ihrer Inneneinrichtung zusätzliche Wertigkeit.
Unter anderem stehen folgende Oberflächen zur Auswahl:
-
- 030-poliert vermessingt
- 038-poliert vernickelt
- 070-RAL 9016 Verkehrsweiß
- 107-RAL 9005 Tiefschwarz EP matt
- 124-F1-farbig
- 125-F2-farbig
- 126-Edelstahl Look
- 144-Satin Nickel
- 146-Satin Chrom
- 156-Rustic Umber
- 168-Bronze Metallic
- 174-Bronzefarbig
- 175-Mittel Bronzefarbig
- 176-Dunkel Bronzefarbig
- Weitere Oberflächen auf Anfrage
3.1.1 Welche Oberfläche passt wann?
Gutes Interior Design bzw. Innendesign zeichnet sich dadurch aus, dass sich eine einheitliche Designsprache durch den ganzen Innenbereich eines Hauses oder Wohnung zieht. Dabei wirkt es besonders durchdacht, wenn scheinbare Kleinigkeiten, wie bspw. die Farben von Türdrückern und Türbändern aufeinander abgestimmt sind.
Hier ein paar Tipps zur Wahl der richtigen Farbe von Türbändern:
- Die Farbe Schwarz ist eine der aktuellen Trendfarben im Interior Design. Nutzen Sie Schwarz eventuell bereits für Küchenfronten oder im Wohnzimmer? Besonders gut macht sich Schwarz bspw. in Kombination mit hellem Eichenholz. Wenn Sie solche Kombinationen sowieso schon in Ihre Designsprache aufgenommen haben, macht es nur Sinn, dass Sie Ihre Eichenholztüren bspw. mit den Tectus Türbändern in schwarz bestücken. In Frage kommen in diesem Fall beispielsweise die Oberflächen Tiefschwarz EP matt und Rustic Umber.
- Ebenfalls alles richtig macht man mit Oberflächen im Edelstahl Look (126). Diese wirken geradlinig und strahlen eine nüchterne Eleganz aus. Sie sind recht universell einsetzbar, weshalb man mit ihnen wenig falsch machen kann.
- Ein weiterer Klassiker unter den Finishes (Oberflächen) speziell in Kombination mit Holztüren ist poliert-vermessingt (030). Diese fast golden anmutende Oberfläche strahlt ebenfalls Eleganz und Hochwertigkeit aus, wirkt aber etwas klassischer und wärmer im Vergleich zu Edelstahl-Oberflächen. Während sich Edelstahl-Oberflächen perfekt für Interior Designs eignen, die eher modern und minimalistisch ausgelegt sind, bieten sich vermessingte Oberflächen für etwas klassischer orientierte, verspielte Interior Designs an.
3.2 Sichtbare Türbänder in vielfältigen Variationen
Sichtbare Türbänder können gemäß folgender Aspekte kategorisiert werden:
- Einbauweise
- Design
- Oberflächen
3.2.1 Türbänder und ihre Einbauweisen
Die gängigsten Türbänder kategorisiert nach Einbauart sind:
- Aufschraub-Türbänder
- Einbohrtürbänder
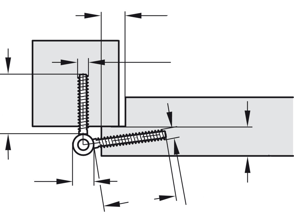
3.2.2 Aufschraub-Türbänder
Aufschraubtürbänder sind der günstigste Typ von Türbändern. Sie werden sowohl auf die Zarge als auch das Türblatt geschraubt und sind dementsprechend einfach zu montieren. Nachteile sind, dass sie nicht einstellbar und nachjustierbar sind. Für eine spaltlose Montage muss das Band zudem in Türblatt und Zarge eingelassen werden.
Bei Kellerabteilen oder Scheunentoren bringt man Anschraubbänder der Einfachheit halber manchmal außen an, also so, dass sie vollständig sichtbar und die Schrauben zugänglich sind. So montierte Anschraubbänder kann man einfach abschrauben. Daher ist diese Art der Montage bezüglich Sicherheit nicht zu empfehlen.
Die folgende Skizze zeigt, wie ein Anschraubband richtig montiert wird. Wie Sie sehen, sind die Flügel des Anschraubbandes nicht mehr sichtbar und somit auch die Schrauben nicht zugänglich, wenn die Türe geschlossen ist.
Im Vergleich dazu sehen Sie im Folgenden die Skizze eines Einbohrtürbands:
3.2.3 Einbohrtürbänder
Mit Einbohrtürbändern lassen sich unauffällige, minimalistische Designs verwirklichen. Dieses extrem schlanke Türband besticht nicht nur durch seine Unauffälligkeit, sondern auch durch seine hohe Stabilität. Einbohrtürbänder können mit einem Sicherungsbolzen versehen werden, der ein Aushebeln der Türe unmöglich macht oder erschwert. Dadurch bieten sie einen höheren Schutz gegen Einbruch als Aufschraubtürbänder.
3.2.4 Zierhülsen und Oberflächen – Veredeln Sie Ihre Türbänder zum Blickfang
Auch sichtbare Türbänder gibt es mit verschiedensten Oberflächen. Gängige Oberflächen sind unter anderem:
- Stahl vernickelt
- Edelstahl matt
- Stahl weiß verzinkt
- Stahl vergoldet
Wenn Sie es gerne modern haben, sind Sie mit einem schlichten Einbohrband aus Edelstahl gut beraten. Es ist unauffällig, nüchtern und fügt sich nahtlos in ein modernes, minimalistisches Design ein.
Vergoldete Einbohrbänder eignen sich eher in Kombination mit einer klassischen Inneneinrichtung.
Achten Sie bei Einbohrbändern auch auf die Kopfform. So gibt es viele Einbohrbänder mit:
- flacher Kopfform
- abgerundeter Kopfform
- oder speziell gestalteter Kopfform (Zierkopf)
Haben Sie schon von Zierhülsen gehört?
Diese können sie nachträglich auf das bereits montierte Türband stecken und dieses so im Handumdrehen in einem neuen Look erstrahlen lassen. Das hat den Vorteil, dass Sie ein ganz schlichtes Einbohrband wählen können, ohne sich über dessen Kopfform oder Oberfläche Gedanken machen zu müssen. Sie können diese jederzeit im Nachhinein ändern!
Zierhülsen gibt es unter anderem in folgenden Ausführungen:
- Messing poliert
- Messing patiniert
- Schmideisen verzinkt geschwärzt
Gerade geschwärzte Zierhülsen eignen sich für ein rustikales Interior Design und bestechen oft durch ihre filigranen Verzierungen.
4. Tragkraft bzw. Tragfähigkeit von Türbändern
Ein wichtiges Kriterium bei der Wahl des richtigen Türbandes ist neben der Optik und Einbauart die Tragkraft. Ein Türband muss nicht nur das Gewicht des Türblatts problemlos tragen können, es muss auch die dynamischen Kräfte, welche beim Öffnen und Schließen der Türe entstehen, aushalten können.
Standardmäßig werden zwei Bänder genutzt, um das Türblatt mit der Zarge zu verbinden. Der Drehmittelpunkt der Türe liegt hierbei im Drehmittelpunkt des Bandes. Da immer mindestens zwei Türbänder zum Einsatz kommen, verlängert sich der Drehmittelpunkt zur Drehachse.
Da es nicht möglich ist, diese Drehachse perfekt auszurichten, sprich zu fluchten, wirken dementsprechend immer (im Idealfall möglichst geringe) Zwangskräfte. Diese lockern eines der beiden Türbänder solange, bis es mit dem ergänzenden Türband eine exakt gefluchtete Drehachse bildet.
Im Gegensatz zu mancher Annahme senkt ein drittes Türband in der Mitte diese Zwangskräfte nicht, sondern steigert diese sogar. Ein drittes zusätzlich montiertes Türband erhöht die gesamte Tragkraft der Türbänder somit nicht. Es bietet allerdings einige andere Vorteile:
- Anstatt dass nur zwei Punkte der Zarge belastet werden, werden die Kräfte auf drei Punkte verteilt. Das kann besonders bei schweren Türen von Vorteil sein. Bei gängigen Innentüren ist dies jedoch vernachlässigbar.
- Ein drittes Band stabilisiert das Türblatt auch in der Mitte. Es ist nun viel schwieriger, das Türblatt in der Mitte vom Rahmen wegzudrücken, was die Türe stabiler und sicherer macht. Zudem biegt sie durch die zusätzliche mittlere Fixierung in der Mitte auch weniger durch.
4.1 2- oder 3-teiliges Einbohrband?
Sollten Sie Ihre Türen mit 2- oder 3-teiligen Einbohrtürbändern ausstatten?
Während Haustüren immer mit 3-teiligen Einbohrbändern beschlagen werden sollen, genügen bei Innentüren in der Regel 2-teilige Türbänder.
Standardmäßig erhalten Sie die meisten Innentüren daher auch mit einem 2-teiligen Einbohrband geliefert. Dieses besteht aus einem Bandober- und einem Bandunterteil. Ersteres verfügt über ein Schraubgewinde und wird an die Türe verschraubt, zweiteres über zwei Schraubgewinde, welche an die Zarge verschraubt werden.
Da 3-teilige Türbänder die Türe nicht nur an einem, sondern an zwei Punkten fixieren, bieten sie mehr Stabilität als 2-teilige Türbändern. Aus diesem Grund sollen sie für Haustüren und schwere Türen wie Türen in Übergröße oder Türen aus schwerem Holz bzw. Türen mit schweren Eisenelementen verwendet werden.
Aber auch für überdurchschnittlich beanspruchte Innentüren wie bspw. Kinderzimmertüren empfehlen wir dreiteilige Einbohrbänder.
5. Innentüren einbauen: Tipps zur Montage von Türbändern
Wenn Sie Zimmertüren einbauen, geschieht dies fast immer mit Einbohrbändern. Daher im Folgenden einige Tipps, die Ihnen die Montage von Einbohrbändern leichter machen.
- Bohrlöcher: Bei einer handelsüblichen Zarge sind die Löcher für Einbohrbänder meist schon vorhanden und müssen nicht mehr gebohrt werden.
- Türbänder eindrehen und justieren: Nun müssen Sie die beiden Teile des Einbohrbandes in das Türblatt bzw. die Zarge eindrehen. Dies geschieht im Uhrzeigersinn. Um die Türe zu justieren, hängen Sie das Türblatt in die in die Zarge eingedrehten Unterteile des Türbandes ein und prüfen, ob sich die Türe reibungslos öffnen lässt. Reibt es irgendwo, hängen Sie die Türe wieder aus und justieren die Türbänder, indem Sie diese etwas weiter ein- oder aber ausdrehen. Wiederholen Sie diesen Vorgang so lange, bis die Türe reibungslos auf- und zuschwingt.
Das war der erste Teil unseres ultimativen Türen-Guides. Hier geht es zu den weiteren Teilen:
Der ultimative Türen-Guide – Teil 2: Schlösser, Schließzylinder, Schließbleche und mehr
Lesen Sie in diesem Teil alles zu verschiedenen Türschloss Arten, worauf Sie beim Türschloss kaufen achten sollten, wie Sie am besten Sicherheitsschloss, Profilzylinder oder allgemein ein Türschloss wechseln und vieles mehr.
Der ultimative Türen-Guide – Teil 3: Türgriffe, Türdrücker und Türdrückergarnituren
Im dritten Teil des Türen-Guides kommen wir nach dem Türaufbau und den Schlössern nun zur letzten wichtigen Tür-Komponente: den Türgriffen. Zudem erfahren Sie, welche Anforderungen ein guter Sicherheitsbeschlag für Ihre Haus- oder Wohnungstür erfüllen muss.
Der ultimative Türen-Guide – Teil 4: Türdichtungen, digitale Türspione, Hausnummern und weiterer Tür-Zubehör
In diesem abschließenden Teil erfahren Sie mehr über interessanten Zubehör für Ihre Türe: Türdichtungen, spezielle Türrosetten mit Kernziehschutz für zusätzliche Sicherheit, dazu ein digitaler Türspion mit Kamera (oder auch ohne), ein Schild mit Hausnummer und eventuell noch ein Gestänge- oder Gleitschienentürschließer.








Aufwändig gemachte Information. Selbst mit fundierten DIY-Kenntnissen ist klar Neues dabei.
Danke und Respekt.
Vielen Dank für die Tipps zu den Türbändern! Die Haustür meiner Eltern ist heute kaputtgegangen. Ich werde mich für sie später bei einem Experten umhören und eine passende Haustür kaufen.
Vielen Dank für diesen Beitrag zum Thema Türen. Gut zu wissen, dass bei gefälzten Türen das Türblatt bzw. die Kante des Türblatts auf der Wand bzw. dem Türrahmen aufliegt. Ich werde mir eine neue Innentür kaufen.
Wir überlegen gerade, welche Türen wir in unser Haus einbauen wollen. Ich finde, die Farbe Schwarz sehr schön, besonders wenn die in das Hausdesign reinpasst. Gut zu wissen, dass es verschiedene modele, von Türbändern gibt, besonders die verdeckt liegenden finde ich schön.
An sich ist der Artikel sehr informativ, dennoch fehlen mir als Superlaie ein paar Details. Mein Problem ist etwas anders gelagert:
Ich habe eine 60er Jahre Zarge mit der Möglichkeit, eine Tür mit drei Bändern/Angeln einzuhängen. Die neuen Türen haben jedoch nur zwei Bänder/Angeln. Die alte Tür ist kaputt.
Wie kann ich nun eine solche neue Tür in die alte Zarge einpassen (Mietwohnung 60er Jahre)?
Danke für eine kleine Information und viele Grüße
Ursula
Wow, die Tectus Scharniere sehen ja cool aus. Jetzt muss ich nur noch meinen Mann zu dem Investment überreden 😉
Sehr informativer Beitrag, vor allem der Part über den Anschlag hat mir Klarheit verschafft.